Een account maken is heel gemakkelijk!
Welkom
Hallo, als je inlogt kun je een wensenlijstje bijhouden, je bestellingen zien en nog veel meer!
Je hebt het minimaal aantal bereikt
Er zijn nog geen producten in uw winkelwagen geplaatst.
Product toegevoegd aan jouw offerte. Ga naar de offertepagina om jouw offerte aan te vragen. Wij nemen dan zo spoedig mogelijk contact met je op.
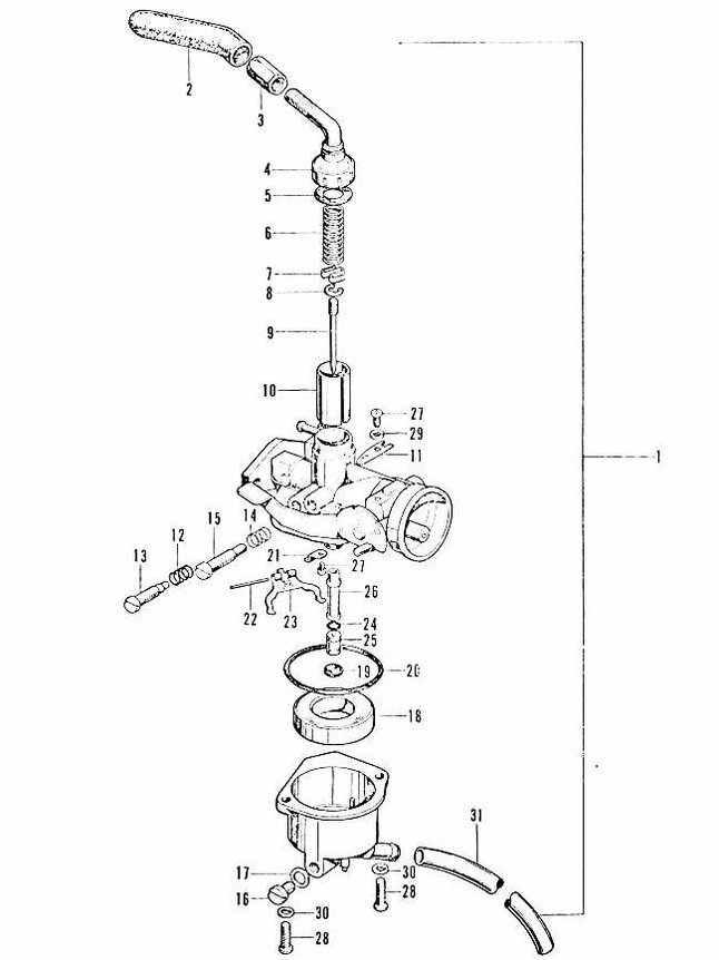
Gasnaald borgveertje C50, Dax, origineel Honda
Vlotter, Novio, Amigo, PC50, origineel Honda
Sproeier los, Novio, Amigo, PC50, origineel Honda, maat 52
Sproeier los, Novio, Amigo, PC50, origineel Honda, maat 55
Sproeier los, Novio, Amigo, PC50, NOS, origineel Honda, maat 62
Sproeier los, Novio, Amigo, PC50, origineel Honda, maat 65
Sproeier los, Novio, Amigo, PC50, origineel Honda, maat 68
Bout kruiskop m3 x 05, origineel Honda
Bout kruiskop m4 x 12, origineel Honda
Ring 3mm, veer, origineel Honda
Ring 4mm, veer, origineel Honda
Sproeier los, maat 50 t/m 65, past op Novio, Amigo, PC50
Carburateur 9mm, past op Monkey, Novio, Amigo, C310S, C320S
CAP, RUBBER, OEM HONDA
CLIP, bar, OEM HONDA
Adjuster, cable, OEM Honda
Top, OEM Honda
Pin, arm, OEM Honda
Arm, float, OEM Honda
Valve, throttle, OEM Honda
Needle, jet, OEM Honda
Screw, air, OEM Honda
Screw, throttle stop, OEM Honda
Washer, stopper, OEM Honda
O-Ring 43, OEM Honda
O-Ring, 3,3, OEM Honda
Spring, air screw, OEM Honda
Spring, throttle stop screw, OEM Honda
Spring, throttle, OEM Honda
Washer, fiber, 6,2, OEM Honda
Plate, pin set, OEM Honda
Packing, crankcase, OEM Honda
Plate, clip, OEM Honda
Vul hieronder je gewenste naam in.
Geef je nieuwe verlanglijst hieronder een naam.