Een account maken is heel gemakkelijk!
Welkom
Hallo, als je inlogt kun je een wensenlijstje bijhouden, je bestellingen zien en nog veel meer!
Je hebt het minimaal aantal bereikt
Er zijn nog geen producten in uw winkelwagen geplaatst.
Product toegevoegd aan jouw offerte. Ga naar de offertepagina om jouw offerte aan te vragen. Wij nemen dan zo spoedig mogelijk contact met je op.
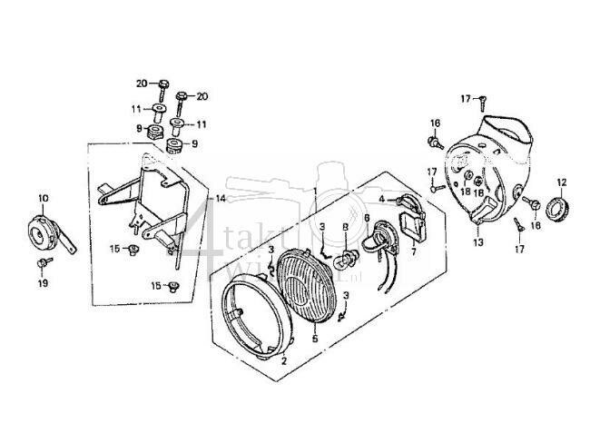
RUB,SPDMT,MOUNT, OEM HONDA
Moer m8 x 1,25 sleutel 13
Koplampunit montage veertje, origineel Honda
Koplamp rand Dax 3-bout groot, origineel Honda
Moer m8 x 1,25 sleutel 14, origineel Honda
Bout kruiskop verzonken, m5 x 12 lenskop, chroom, origineel Honda
COVER, HDLT.SOCKET, OEM HONDA
BOOT, LT.BRACKET, OEM HONDA
Bolt, flange, 6x12, OEM HONDA
Vul hieronder je gewenste naam in.
Geef je nieuwe verlanglijst hieronder een naam.